大面积楼面混凝土浇筑一次抹光的施工质量控制

叶青荣

上海市浦东新区建设(集团)有限公司 上海 200136

摘要在大型建(构)筑物施工过程中,大面积楼面混凝土结构越来越多。以上海曹路公交车停车场工程为例,其多层停车库楼面、屋面、汽车坡道混凝土一次抹光工程量达61 775 m2。即使将每层分为8个区域分块施工,单个区域的最大面积仍达2 111 m2。另外,根据设计要求,此结构的大面积混凝土一次浇筑质量要求较高,为保证施工质量,需要从材料、现场施工、成品保护等方面进行综合控制。施工中采用了一种工具式找平系统(实用新型专利),较好地控制了大面积结构混凝土浇筑施工中的混凝土厚度、表面平整度及设计坡度,可为类似工程提供借鉴。

关键词 大面积混凝土施工 一次抹光 工具式标尺 平整度 质量控制

1 工程概况

上海曹路公交停车场工程位于浦东新区曹路镇。工程占地面积为19 038 m2,总建筑面积为70 008 m2。设计停车能力为600辆车,保养能力为400辆。

多层停车库建筑面积57 852.5 m2,为现浇钢筋混凝土框架结构,地上4层,辅助用房为5层。根据设计要求,多层停车库的坡道、楼板厚度为150 mm+(30~50)mm,混凝土随捣随抹,一次抹光。楼面、屋面、汽车坡道混凝土一次抹光工程量为61 775 m2;地面混凝土随捣随抹光工程量为13 748 m2。按建筑平面设计将每个层面划分成8块区域。经计算,浇筑混凝土量最大的板块为8#块,混凝土工程量达780 m2;而面层一次抹光的最大板块为5#块,面积为2 111 m2

针对柱网间距大、平面积大、横向柱网之间都有泛水(正常柱距泛水为70 mm),且不允许二次找坡或二次成型的要求,控制好楼面混凝土厚度、表面平整度和保证一次抹光质量是楼面面层混凝土质量控制的关键[1-4]

2 原材料控制

1)混凝土级配中粉煤灰宜采用Ⅱ级以上细磨粉煤灰,其质量符合DG/TJ 08-230—2006的有关要求。本工程混凝土级配中粉煤灰的掺量为胶凝材料的14%,配合比中的矿粉掺量为16%。

2)混凝土水灰比控制及坍落度控制:混凝土水灰比与坍落度大小成正比。本工程多层停车库楼层梁板混凝土水灰比控制在0.45以内,坍落度控制在120 mm±30 mm以内。现场设专人测试混凝土坍落度,重点控制梁板浇筑时的混凝土坍落度。

3)砂石级配中含泥量:砂子含泥量<3%,石子含泥量<1%。

4)控制混凝土入模温度:根据施工进度,混凝土浇筑时间为秋、冬季,对施工极为有利。如果出现高温,现场工作面可适量洒水降温。

3 现场施工控制

3.1 楼面混凝土厚度、平整度及设计坡度的控制

3.1.1 一般控制方法及缺点

一般楼面混凝土平整度控制点用粗短钢筋焊接在底板钢筋、梁主筋上,纵横向每2 m焊接1个,在混凝土浇筑前放好控制线,施工中用长2.50 m的铝合金刮尺进行刮平。这种方法的控制点设置较密,预埋材料无法重复利用,施工人员工作量大,同时也不易于大面积楼面混凝土表面平整度的控制。

本工程多层停车库楼面面积达1 200 m2,且设计一次抹光要求,要在如此大面积的混凝土结构上满足表面平整度设计要求,难度非常大。施工中仅根据间距2 m的控制点和依赖测量人员全程仪器控制,施工随机因素大,特别是夜间混凝土浇筑时,施工质量更无法得到保证。

3.1.2 本工程工具式找平系统的应用

针对本工程多层停车库大面积混凝土一次抹光的质量要求,采用用于混凝土面层找平的支撑架结构和工具式找平系统,能解决大面积混凝土结构施工过程中施工人员操作复杂、材料无法反复周转利用、结构平整度差等问题,为大面积钢筋混凝土的厚度、表面平整度及设计坡度等控制提供一种结构比较简单、平整度控制精度高、结构稳定性好、操作容易的找平装置。

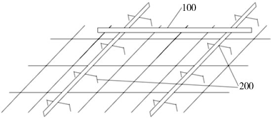
本工程利用的工具式找平系统支撑架结构包括多个支撑脚210和1个固定杆220,固定杆固定在多个支撑脚上方。其中,支撑脚包括2个螺杆和1个横杆,横杆的两端部分别设置有1个固定螺母,螺杆分别对应1个固定螺母进行螺设,螺杆和所述横杆组成1个门形结构,固定杆固定搁置于支撑脚的横杆上(图1)。工具式找平系统将2组如上所述的支撑架结构200进行平行布置,刮尺100搁置于2组支撑架结构200的固定杆220上,并可沿固定杆220滑动。

图1 工具式找平系统结构示意

如图2所示,在每一个螺杆211上还螺设有1个可调螺母240,可调螺母240处于固定螺母230下方。此外,每一个螺杆211上还设置有刻度,同时选用方钢作为固定杆220,并将其通过焊接的方式与每一个横杆212进行连接固定。根据水准仪测量的表面标高,调整螺母240,可精度较高地控制上部的固定杆标高,为施工中的刮尺提供可靠、稳定性高的支撑点,从而确保混凝土浇筑过程中大面积楼板顶标高的精度要求,实现初步找平的目的。

图2 工具式找平系统局部放大示意

安装时,将2组支撑架结构200整体相互平行地放到楼板的底模上,然后按设计图起始点标高,调整各个螺杆211,拉通线找坡、找直,高度确定后再通过拧紧可调螺母240将两固定杆220的各位置进行固定。

如图3所示,2组支撑架结构200的间距一般在5.50 m左右,以保证刮尺100(长6 m的铝合金)能贴着两固定杆220滑动并将混凝土表面刮平。

图3 工具式找平系统应用状态示意

现场多层停车库大面积混凝土施工中,根据多层停车库5#块(45.00 m×46.90 m)的实际情况,现场加工制作标准工具式标尺(单组长8 m)共80组。对每一块施工分段进行找平工作。当混凝土楼面刮平完成一整节标尺长度后,就将标尺整体取出,堆放到平整的前期已完成的楼面或外脚手架上进行冲刷干净,以备下节段施工时使用。现场施工如图4所示[5,6]

图4 工具式找平系统现场应用

3.2 混凝土初、终凝时间的掌握

通过现场实测确定,制作1个固定尺寸的试验块(现场将1块30 m×30 m的排架地坪作为试验块),按配合比的混凝土进行浇筑、振捣、初凝、终凝的时间及表面压光的最佳时间的记录,根据每个流水段的工程量来科学、合理指导施工和安排人员、机械。

试验块的数据只能作为参考,与实际梁板浇筑及气温变动会有差异。所以,在实际操作时,收光、压光人员必须在现场守候,在最佳时间进行圆盘压实提浆,人工辅助收光,抹光机械初磨、细磨的压光工序。

3.3 面层裂缝控制措施

1)严格控制每道钢筋安装工序的质量,板下层钢筋保护层的垫块严格按照纵横向间距60 cm梅花形设置,楼板的上层钢筋用马镫筋垫起来,防止施工人员行走和浇筑混凝土时出现下沉。另外,在安装梁和板的负弯矩钢筋时严格按照设计位置进行安装。从而保证梁板的钢筋保护层和钢筋的位置,防止裂缝的产生,特别是面层钢筋保护层过大而产生的面层混凝土裂缝。

2)严格控制混凝土坍落度,本工程多层停车库的混凝土坍落度按120 mm±30 mm范围内进行控制。其中,混凝土按砂子含泥量<3%、石子含泥量<1%的标准进行严格把控。

3)在混凝土浇筑方面:

(1)多层停车库混凝土浇筑时间在低温季节安排在白天进行,高温季节安排在夜间,降低浇筑时的温度;

(2)每次混凝土浇筑前用水将模板均匀浇透,以免模板在混凝土浇筑时干燥吸水;

(3)在每层、每块梁板混凝土施工中,加强混凝土振捣,既要防止振捣不到位、漏振而导致的混凝土不密实,又要防止过振而导致的粗骨料下沉、表面形成砂浆层、出现泌水等现象。

3.4 混凝土浇筑过程控制

多层停车库每层、每块梁板采用混凝土一次浇筑成型,混凝土浇筑从板块一侧向另一侧采用赶浆法进行施工。现场采用2部泵车同时进行布料,先将梁按每层40 cm进行分层浇筑,当混凝土浇筑到板底的位置时,梁板一起由一侧至另一侧连续推进浇筑(图5)。

图5 梁板混凝土浇筑

现场混凝土浇筑后,振捣及时跟上,按快插慢拔、插点均匀排列、插入点小于40 cm的原则进行控制。第1层下料要慢,待充分振捣后,浇筑第2层混凝土,振捣第2层混凝土时振捣棒插入下一层混凝土5~10 cm。混凝土振捣时振动棒不得碰动钢筋。

混凝土浇筑过程中,操作人员应控制好振捣时间,以防过振产生离析、泌水,振捣时务必均匀,保证上下层之间不形成硬缝,按照流水段的混凝土工作量选定2台泵车,混凝土运输的搅拌车满足混凝土连续浇筑的需要。

3.5 机械抹光过程控制

机械抹光时,操作人员需在现场守候。根据混凝土表面收水情况,不得过早,也不能过晚。混凝土抹光时,若发现板块表面有凹坑或者石子露出表面,应用工具及时铲毛、剔除并补浆修整。压浆及抹光根据混凝土表面收水情况及效果,可调整抹压遍数。本工程多层停车库混凝土抹光中,在混凝土接近终凝时,对混凝土进行二次抹面,使混凝土表层结构更加致密(图6)。

3.6 成品保护

混凝土浇筑完毕并压光几小时后及时采用土工织物或薄膜覆盖及浇水养护,养护期按14 d控制。后期楼面上立模时,采用废旧模板满铺,使上部排架搭设不与楼面接触,以确保楼面的完好无损[7,8]

图6 楼面机械抹光

4 结语

1)结合本工程工具式找平系统的运用,“用于混凝土面层找平的支撑架结构和工具式找平系统”申请为国家实用新型专利;

2)工具式找平系统结构简单,大部分利用现场废旧材料,加工成本低。现场施工中安装、拆除、清洗方便,且结构不易损坏,可反复利用,降低施工的成本;

3)在大面积混凝土浇筑中,能保证楼面混凝土的设计厚度、表面平整度及设计坡度;

4)本工程多层停车库一次浇筑的楼面面层没有发现开裂和空鼓,也没有出现脱皮、麻面、起砂等质量缺陷,楼面平整度实测达到优良等级。在材料的使用、施工人员操作、混凝土质量等方面取得了较好的效果。因此,在大面积钢筋混凝土结构施工中,工具式找平系统具有较好的运用前景[9,10]

参考文献

[1] 郭红滨.针对大体积混凝土裂缝现象分析及应对措施研究[J].江西建材,2015(6):58.

[2] 王顶堂.大体积混凝土裂缝控制技术应用研究[J].安徽建筑工业学院学报,2008(6):9-14.

[3] 周桂明,王欢.如何做好混凝土的养护[J].商品混凝土,2007(5):66-67.

[4] 陈春秀.泵送混凝土配合比设计及在施工中的注意事项[J].科技资讯,2011(7):101.

[5] 曹长龙.多层钢筋混凝土框架结构设计探讨[J].工程与建设,2009(1):70-72.

[6] 蒋洪洋.多层钢筋混凝土框架结构设计探讨[J].城市建筑,2013(16):44.

[7] 揭河清.大体积混凝土浇筑技术要点浅析[J].江西建材,2015(8):83.

[8] 袁和平.大体积混凝土裂缝的原因及预防措施[J].江西建材,2015(4):72.

[9] 张山根.大体积混凝土施工质量控制例析[J].建筑,2015(8):65-67.

[10] 满运锋.基础筏板大体积混凝土施工质量控制[J].中国科技博览,2015(14):291.

Construction Quality Control over Pouring of Large Area Concrete Floor by Only Once Surface Finishing

YE Qingrong
Shanghai Pudong New Area Construction (Group) Co., Ltd. Shanghai 200136

中图分类号TU767

文献标志码:B

DOI:10.14144/j.cnki.jzsg.2015.08.022

作者简介:叶青荣(1971—),男,硕士,工程师。

通信地址:上海市浦东新区浦东大道2752号浦建大厦1003室(200136)。

收稿日期:2015-06-26