桥梁工程长盖梁施工的控制要点

冯宇飞

上海浦东路桥建设股份有限公司 上海 201210

摘要:无锡市华惠路白屈港桥长盖梁需一次浇筑成型,通过采用抱箍法作为模板支撑、合理选择混凝土配合比、分层、分块斜面浇筑等方法,很好地完成了浇筑任务,为类似工程积累了可资借鉴的经验。

关键词:桥梁工程 盖梁施工 支架支撑 混凝土浇筑

1 工程概况

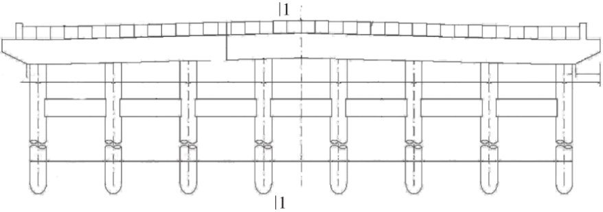
无锡市惠山区华惠路白屈港桥工程位于无锡市华惠路(白屈港—兴长路)K0+535处,为三跨简支板桥梁,每跨跨径20 m,桥面宽41 m,桥跨中心线与道路中心线斜交82°。桥梁下部采用桩柱式桥墩,桥墩盖梁断面为1.40 m×1.40 m,总长43.96 m,混凝土强度等级为C30。立柱灌注桩φ1.20 m,横系梁为0.80 m×1.00 m(图1)。

图1 盖梁立面示意

2 施工要点及技术措施

2.1 模板及支架支撑方案

在模板及支架支撑方案的选择中,我们结合伸缩裂缝控制中改善约束条件的要求,首先选择在结构上解除部分外约束以减少因结构变形引起的应力产生的裂缝,因此决定采用与常规施工不同的方法——先施工盖梁后施工横系梁。但是这种施工方法也增大了长盖梁的模板和支撑的难度,而模板和支撑的成功与否又直接影响到长盖梁钢筋混凝土的强度和表观质量,尤其作为桥梁下部结构长期暴露在水面上高湿度环境中,基本要求其形成的混凝土就是清水混凝土,不作任何修饰,即“外光内实”。因此根据施工现场实际情况,本着“安全、经济、实用”的原则,选用抱箍法(加部分钢管支架支撑)来作模板支撑(图2)。

图2 盖梁模板侧立面

侧模板由大型钢模拼装而成,上口用φ16 mm对拉螺杆固定,下口焊在10#槽钢上,并为增加侧模板稳定性,在侧模板上口每边各设置揽风绳拉紧。底模依据设计图纸分块制作,由5 cm×10 cm木方与厚1.80 cm竹胶板制成,圆柱处由竹胶模板制成内径1.20 m的2块半圆形模板拼装而成;施工过程中,长盖梁的总荷载主要由钢抱箍承担。

因此长盖梁浇筑时已筑坝围堰,河水已被抽干且河床已露出,为加强抱箍的刚度、减少工字钢的挠度,在地基承载力良好的河床上,于两立柱跨中位置增设钢管支架支撑在工字钢底面。为保证其安全可靠,对抱箍支架做强度、刚度和稳定性计算,认为符合设计图纸和相关规范中的要求。在此根长盖梁的整个浇筑过程中,由于对模板及支架支撑方案做了大量细致周密的准备工作,没有发现下沉、松动或变形现象[1,2]

2.2 混凝土的选择

为控制水泥水化热引起的温升,减少降温温差,选用中低热的P.O 42.5水泥,以减少水化热,使混凝土减少温升。同时在混凝土中掺加占水泥质量1.50%的早强高效减水剂,既能减少18%~25%的拌和水,又节约了10%左右的水泥,从而降低水化热,而且可以有效延迟水化热释放的速度,放热峰值也较不掺的推迟,这样不但可减小温度应力,且可使初凝和终凝的时间相应延缓5~9 h(初凝8 h、终凝12 h),并大大减少了在大体积混凝土施工过程中出现伸缩裂缝的可能性。粗、细骨料宜优先采用以自然连续级配的粗骨料配制混凝土,以具有较好的和易性、较少的用水量和水泥用量以及较高的抗压强度。在满足泵送混凝土的条件下,尽量增大骨料粒径,以减少用水量,而使混凝土的伸缩和泌水情况随之减少,从而使水泥水化热减小,降低混凝土温升。结合实际情况,粗骨料选用颗粒连续级配粒径为2.50~31.50 mm的碎石,且针片状含量不大于15%。细骨料选用细度模数大于2.50的中粗砂,在满足可泵性的前提下,尽量降低含砂率。砂石的含泥量也不宜过大,否则会增加混凝土的收缩率,同时也会引起混凝土抗拉强度的降低,对混凝土的抗裂是十分不利的,因此石料含泥量应小于1%,砂含泥量应小于2%。

2.3 浇筑方式的选择

因盖梁长度较长(L=43.96 m),且浇筑厚度为1.40 m,为改善混凝土内部的散热,拟采用分层、分块斜面对称浇筑(图3),这也是为了确保支架在施工过程中均衡受载而采取的由中部向两边扩展的浇筑方式。同时混凝土的振捣也要适应分层、分块斜面浇筑工艺,应在每个斜面层的上、下各布置1道振动器。上面的1道布置在混凝土卸料处,保证上部混凝土捣实,下面1道布置在近坡脚处,确保下部混凝土密实。并且为使上下层成为整体,避免形成接缝,浇筑上层时插入式振动器应伸入到下层一定深度(50~100 mm),同时下层混凝土仍需保持一定塑性,因此须在下层混凝土初凝(8 h)以前浇完上层混凝土。这在客观上也是对浇筑后的下层混凝土进行二次振捣,排出混凝土因泌水在粗骨料、水平钢筋下部生成的水分和空气,提高混凝土与钢筋的握裹力,防止因混凝土沉降而出现的裂缝,减少内部微裂,增加混凝土密实度,使混凝土的抗压强度提高10%~20%,从而提高抗裂性、减少混凝土收缩、提高混凝土的极限拉伸值,这对防止产生伸缩裂缝亦起了一定的作用。对每一振动部位,必须振动到该部位混凝土密实为止。密实标志是混凝土停止下沉,不再冒出气泡,表面平坦、泛浆。随着混凝土浇筑的向前推进,振动器也相应跟上。因此长盖梁泵送混凝土的表面水泥浆较厚,在浇筑后要进行处理。即先初步按设计标高用长标尺刮平,然后在初凝前用铁滚筒碾压数遍,再用木蟹打磨压实,以闭合伸缩裂缝。泵送混凝土囿于地形条件限制,需用橄榄车配合自动搅拌车进行施工。综合考虑人力、机械、现场自然条件等因素,分层、分块斜面浇筑宜考虑掺加有缓凝效果的减水剂,如前所述,掺加占水泥质量1.50%的早强高效减水剂。经初步测算,此长盖梁浇筑完约需8 h。同时,为减少成品混凝土的表面毛细气孔,混凝土坍落度宜控制在泵送混凝土的低限,即必须小于12 cm,为10 cm±2 cm。浇筑当天气温为16 ~20 ℃,浇筑完的时间也应是一天中气温较低的时间,因此决定该长盖梁在12:00左右开始浇筑,由于准备工作较充分,在19:30时已经顺利结束,实际总的浇筑时间为7.50 h,与施工方案预计的浇筑时间差不多,因此也降低了此长盖梁混凝土的总温升和减少了结构的内外温差,并满足了分层、分块斜面浇筑工艺要求[3,4]

图3 盖梁混凝土浇筑示意

2.4 盖梁养护及拆模

长盖梁浇筑后,为减少升温阶段内外温差,防止混凝土表面脱水产生干缩裂缝,并使水泥顺利进行水化,减少结构计算温差,防止产生过大的温度应力和伸缩裂缝,对于已浇筑的长盖梁进行保湿和保温养护是重要的。此长盖梁终凝后,我们在长盖梁上用双层土工织物覆盖于表面,并及时进行浇水保温养护,保持混凝土表面始终处于湿润状态。根据规范要求,模板支架支撑须待混凝土强度达到设计值的75%以上方可拆除。为慎重起见,我们在14 d后进行拆模,在此之前经试验检测中心检测,拆模试件强度达31 MPa,达设计值的103%。模板拆除后,盖梁整个表面较光滑,局部有毛刺部位用磨光机磨平后,整根长盖梁无伸缩裂缝和沉降裂缝,表面平整,达到了清水混凝土要求。

3 结语

通过在施工前对该长盖梁的模板、支架支撑和混凝土浇筑做充分、细致的方案审核和论证,在施工过程中对其原材料、施工方法进行严格控制,最终为该桥梁工程的顺利竣工奠定了基础。经试验检测中心检测,该长盖梁28 d标养试件强度达32 MPa,同条件试件强度达56.40 MPa,远远超过了设计图纸和施工规范要求。而且该桥梁通车使用至今,此长盖梁尚未发现有大于0.20 mm的裂缝。

◇◇ 参考文献 ◇◇

[1] 杨文渊,徐犇.桥梁施工工程师手册[M].北京:人民交通出版社,2003.

[2] 杨同武.混凝土桥梁裂缝的种类及成因[J].现代农业科技,2011(21):277-278.

[3] 郭世万,肖欣.混凝土施工中的裂缝控制[J].山西水利科技,2000(4):20-21.

[4] 陈坚荣.桥梁工程中现浇盖梁支架的设计与施工[J].公路交通技术,2004(1):52-56.

Key Control Points of Long Capping Beam Construction in Bridge Engineering

FENG Yufei
Shanghai Pudong Road & Bridge Construction Co., Ltd.Shanghai 201210

中图分类号:TU997

文献标志码:B

DOI:10.14144/j.cnki.jzsg.2015.10.024

作者简介:冯宇飞(1979—),男,硕士,工程师。

通信地址:上海市川北公路3011号3号楼213室(201210)。

收稿日期:2015-06-04